2026-02-28
2026-02-28
2026-02-28
了解一下,冷凍雞翅進口報關流程是這樣的;冷凍雞翅進口報關流程|進口冷凍雞翅尖報關代理|雞翅中進口代理報關行|冷凍雞翅根進口清關公司。
臻力供應鏈是一家為企業提供專業的“全球進口一條龍服務”的物流供應鏈服務公司。從2004年公司成立起,經過15年的發展,目前在擁有10家公司,覆蓋沿海國內的主要口岸,從華北的大連港一直延伸到華南的深圳港。
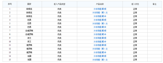
冷凍雞翅允許進口的國家有:阿根廷、巴西、白俄羅斯、波蘭、俄羅斯、法國、泰國、智利,其中最常進口的是“阿根廷、巴西、俄羅斯、智利”。(如需了解冷凍雞肉、雞爪等進口準許國家,您可以提供貨物的海關編碼給我們幫您查詢)。


冷凍雞翅進口報關
作為全球的雞肉消費大國,禽肉類進口逐年上升,那么禽肉類進口商如何從國外進口,需要哪些資質才能進口,進口報關流程是怎樣的?以下是冷凍雞翅進口報關流程,希望能幫到您!

冷凍雞翅進口報關
冷凍禽肉類進口報關,國內進口商的企業資質要求:
(1)進出口經營權;
(2)肉類的經營范圍及肉類資質;
(3)進口食品進出口商備案企業備案(進口辦理);
(4)海關企業年報申報、海關無紙化簽約、電子委托申報簽約(進口辦理)
冷凍雞翅進口報關流程:
簽訂合同--食品中文標簽審核--備貨 --準備冷凍雞翅進口報關單證--發貨到港口--換單--報檢--報關--交稅--貼標簽 -- 申請商檢查驗---貨物放行
關于冷凍雞爪進口報關:
優質凍雞爪主要以巴西、阿根廷、智利、澳大利亞為主,品質好,個頭比較大。隨著中智、中澳自貿協定實 施,進口冷凍肉類關稅逐步下調,進口成本更低。冷凍雞翅進口報關專業代理肉類食品一般貿易進口報關,為企業提供各種冷凍肉類產品進口代理服務,冷凍牛肉、冷凍羊肉冷凍雞腳、冷凍雞爪、冷凍雞翅、冷凍雞腿等,我司在肉類凍柜進口清關方面擁多年進口報關經驗,凍品進口報關流程非常熟悉,歡迎咨詢我們!
冷凍雞翅等凍品進口報關有些單證我司可以代辦,咨詢了解方式:點擊我司網站網頁右下角的咨詢框【在線咨詢】;或者撥打我司全國免費咨詢電話(注:如是下班時間,可給我們留言,我們的客服小姐姐會在看到的第一時間給您致電!上班時間:8:45-18:00)
注明:本文圖片來源于網絡,如有侵權請聯系我們刪除。
臻力,操作過日本再生塑料顆粒進口到上海外高橋、臺灣ABS塑料顆粒進口到東莞沙田等塑料顆粒產品進口報關,我司擁有20年充足業務經驗的業務經理能夠幫您快速完成產品進口通關,為您最大限度的節省時間和壓縮成本
2026-02-28
我司臻力,成立于2012年,有20年礦石進口通關經驗,全國10家分公司,分布在上海總部、廣州、深圳、北京、寧波、武漢、青島、天津、大連、昆山等一二線港口城市,臻力印尼雅加達公司地址:GoldCoast
2026-02-28
臻力進口清關公司,成立于2012年,有20年進口報關代理經驗,對各類花生粕、棕櫚粕、葵花粕、甜菜粕、豆粕等雜粕都有進口通關經驗,可提供一站式門到門服務,下面為您介紹俄羅斯甜菜粕進口清關流程以及俄羅斯甜
2026-02-28
臻力專注水泥等化工品進口報關20年,全國有10家公司,遍布廣州、深圳、北京、上海、寧波、武漢、青島、天津、大連、昆山,可提供廣州進口香港水泥熟料報關一站式門到門服務。下面為您介紹廣州進口香港水泥熟料報
2026-02-28
我司臻力有代理過鉛礦石、銅礦、鐵礦、鉭鈮礦等礦石進口報關,有20年進口報關經驗,全國有10家分公司,下面為您分享廣州黃埔鉛礦石進口報關資料以及廣州黃埔鉛礦石進口報關費用,如果您有需求,歡迎在線聯系我司
2026-02-28
臻力羊毛進口報關公司,成立于2012年,有20年進口通關經驗,在全國有10家分公司(廣州總部、上海、深圳、天津、北京、寧波、武漢、昆山、青島),下面為您介紹南京羊毛進口報關流程以及南京羊毛進口報關注意
2026-02-28
我司臻力專注銅礦石進口報關20年,全國有10家分公司,覆蓋沿海多個主要口岸(廣州、深圳、北京、上海、寧波、武漢、青島、天津、大連、昆山),我司可為客戶快速辦理好敘利亞銻礦石報關資料流程,讓您省時省心省
2026-02-28
臻力廣州進口報關公司,在接到廣州XX食品貿易公司的瑞士到廣州白云機場食品用香精進口報關代理咨詢后,客服立即安排資深顧問經理,迅速處理食品原料進口清關資料,與廣州白云國際機場的海關對接進口報關事宜,快速
2026-02-28

注明:本網站圖片來源于網絡,如有侵權請聯系我們刪除。